返回列表

4)某型号飞机监听板

4)某型号飞机监听板

产品介绍

USB存储通讯卡


数据采集板简介

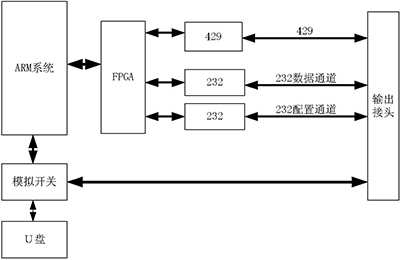
本板卡是USB存储通讯板。上电,该板卡为专用的通讯板卡,带有一路429数据接收和一路232数据接收;429数据接收为透明接收;232数据接收为透明接收,串口参数可设。接收数据实时存储到板卡上的U盘中,系统从加电到开始接收数据时间小于380ms。掉电,该板卡为标准的2GByte U盘,可以通过USB线缆接到PC机的USB口直接上使用。板卡自带时钟芯片,无外界供电情况下,时钟基准在3个月内自维护,并带有一路232接口用于配置板卡时间。


法律声明  | 网站支持

版权所有 © 北京神州航宇测控技术有限公司

京公网安备 11010602007502号

京ICP备18023068号